Время работы:

ПН-ПТ 10:00 - 19:00
СБ-ВС выходной

Каталог товаров

Электроводонагреватель проточный Эван В1 - 24

Артикул: НС-0030840
(0)
Доставка по России любой ТК (транспортной компанией)
Все товары сертифицированы
Основные характеристики
Производитель
Страна производитель
Россия
Напряжение, В
380
Давление срабатывания датчика минимального давления
0,75 (7,5 атм) МПа
Диапазон регулировки температур
30-75°С
Испытательное давление
12 атм
Количество блоков
2
Количество ТЭНов в блоке
3
КПД
93%
Максимальная температура в точке водозабора
75 ±5°С
Минимальное допустимое давление на входе
0,5 атм
Мощность одного ТЭНа
4 кВт
Производительность (при Δt = 35°С)
600 л/ч
Рабочее давление воды
6 атм
Размер (высота), мм
650
Размер (глубина), мм
180
Размер (ширина), мм
255
Разница температур между входом и выходом
35°С
Температура срабатывания аварийного датчика
85 ±2°С
Габариты, мм
650х255х180
Вес, кг
25
Гарантия
18 месяцев

Особенности

  • Простота монтажа, управления и технического обслуживания
  • Единый корпус
  • Три уровня безопасности
  • Экологически чистое двухстороннее покрытие емкости для нагрева
  • Разница температур между входом и выходом при номинальном протоке + 35°С
  • Плавная регулировка температуры воды термостатом
  • Применение блочных ТЭНов из нержавеющей стали в качестве нагревательного элемента
  • Гарантия надежной работы при изменении напряжения питающей сети ±10% от номинального значения

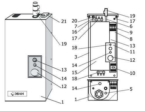
Устройство водонагревателя

  1. кожух
  2. котел
  3. панель
  4. датчик термовыключателя
  5. датчик терморегулятора
  6. выходной патрубок
  7. входной патрубок
  8. кронштейн
  9. пускатель
  10. полка кронштейна
  11. ручка терморегулятора "ТЕМПЕРАТУРА"
  12. выключатель "СЕТЬ"
  13. сигнальная лампа "НАГРЕВ"
  14. предохранитель цепи управления
  15. закладная
  16. зажим заземления
  17. блок ТЭН
  18. предохранительный клапан
  19. обратный клапан
  20. гермоввод (уплотнительная манжета)

Электроводонагреватель проточный Эван В1 - 24 в продаже по цене 0 руб. в Интернет-магазине Проф-инструмент с доставкой в Йошкар-Оле. Звоните по телефону +8 (800) 302-10-51.

Похожие товары
Артикул: НС-1036902
NPX 18-24 Sensomatic Pro представляет модельный ряд современных и высокопроизводительных проточных водонагревателей Electrolux. Это прибор с сенсорным управлением, мощным спиральным нагревательным элементом из нержавеющей стали и электронной системой диагностики.
Не указана цена за 1
Артикул: НС-0012533
SMARTFIX 5,5 – электрический проточный водонагреватель с медным нагревательным элементом и гидравлической системой управления
Не указана цена за 1
Артикул: НС-1036901
NPX 12-18 Sensomatic Pro представляет модельный ряд современных и высокопроизводительных проточных водонагревателей Electrolux. Это прибор с сенсорным управлением, мощным спиральным нагревательным элементом из нержавеющей стали и электронной системой диагностики.
Не указана цена за 1